播种机MES排单管理系统:化解插单与设备调度难题
轻流
·
2025-10-24 15:28:27
阅读6次
在农业机械制造领域,播种机作为精准农业的核心装备,其生产过程具有明显的多品种、小批量和季节性波动的特征,这给传统生产管理模式带来了巨大挑战。尤其在春耕秋播前的订单高峰期,如何灵活应对紧急插单、如何优化利用有限的生产设备、如何确保订单按时交付,成为许多企业管理者的心头之痛。制造执行系统(MES)中的排单管理模块……

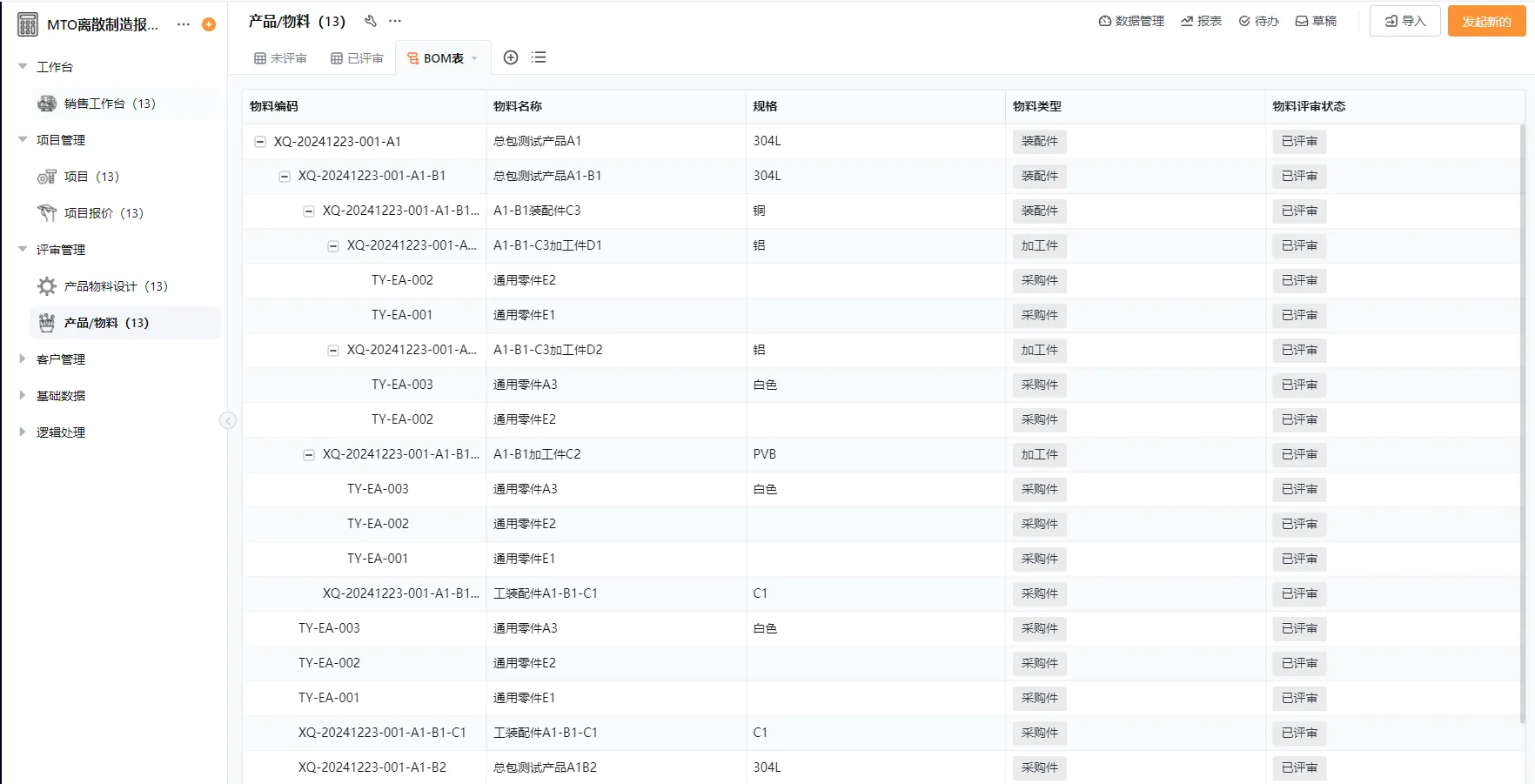
1、播种机生产的独特性与排单困境
2、智能排单:从“经验驱动”到“数据驱动”的转变
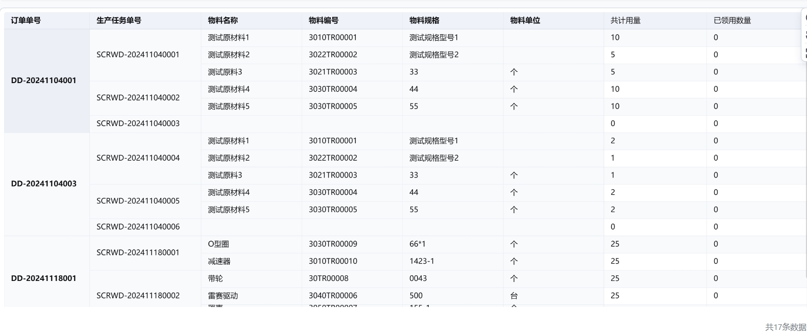
3、资源调度的最优化与协同运作
4、全流程透明化管理与快速响应机制
5、排单管理在数字化转型中的基石作用


《 上一篇
财务管理软件如何选对不踩坑?
免责申明:本文部分内容通过 AI 工具匹配关键字智能整合而成,仅供参考,轻流不对内容的真实、准确、完整作任何形式的承诺。
如有任何问题或意见,您可以通过联系官网客服进行反馈,我们收到您的反馈后将及时处理。
相关推荐
推荐产品
轻客CRM
轻客 CRM 是为中小企业提供的客户管理解决方案,能自动识别线索、管理客户信息、实现订单流程线上化,支持多终端移动办公,具有成本低、灵活高效等特点。
轻银费控
轻银费控系统-银企直连是一个帮助企业解决费用报销、支付、预算控制等问题的系统,支持数据化管理、自动化审批流程、银企直连,提高财务效率。
生产管理
适用于汽车零部件、电子电器、航空航天、医疗器械、五金制品等制造领域。以销售订单启动流程,经生产计划、生产各环节、装配质检、质量检验、财务回款和售后,优化计划排程,提高效率、质量,加强物料管理。
项目管理
工程项目管理系统适用于各类建筑工程新建、改建和扩建。可优化流程、促沟通协作、控成本、保质量安全及支持决策。实现思路是与相关方沟通,了解需求痛点,收集整理数据,评估现有模式。
人事管理
系统按HR高频工作搭模板,含招聘、员工、调转岗、薪资、考评管理模块,覆盖全流程,可灵活配置,提效决策。
设备巡检
适用于设备点检、保养、维修、配件管理及工装、样件校验管理,可实时分析单据处理完成率和及时率。效果是在手动巡检基础上实现自动工单触发,有实时分析看板。思路是维护台账、方案,生成工单并处理、统计相关情况。